发电机碳刷打火怎么办?
2023-06-05 科威
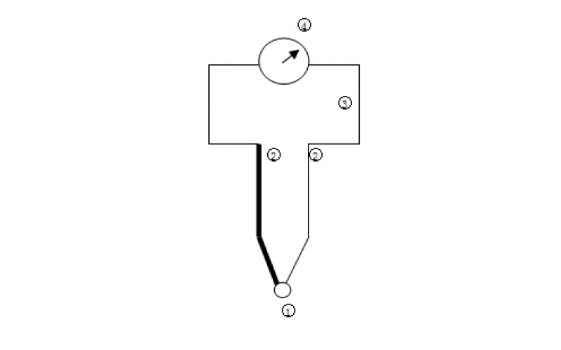
热电阻和热电偶的区别及故障处理方法
2023-05-12 科威
弄懂变压器的油温与绕组温度
2023-04-28 科威
通过案例分析轴瓦温度在汽轮机中的应用
2023-04-25 科威
分享电仪工程师总结的电仪维护禁忌56条
2023-04-12 科威
热电偶一些影响检测结果却容易被忽视的问题
2023-04-10 科威
浅析热电偶各分度号的含义及常见故障处理分享
2023-04-04 科威
热控温度仪表的故障解析分享
2023-03-20 科威